Úvod
O nás
Servis
Pronájem
Stroje skladem
Zařízení skladem
E-shop
Kontakt
O společnosti
Školení
Úvod
Katalog
Přídavná zařízení
A.T.I.B
Přídavná zařízení
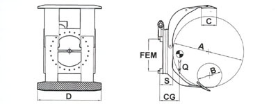
Manipulační kleště s pevným krátkým ramenem - speciální provedení
Katalog produktů
Čtyřkolové čelní vozíky spalovací
Toyota Tonero (15-35)
Toyota Tonero (35-80)
Toyota 8FGCU
Čtyřkolové čelní vozíky elektrické
Toyota Traigo 24
Toyota Traigo 48
Toyota Traigo 80
Toyota Traigo HT
Elektrické zakladače
BT Staxio W-série
BT Staxio P-série
BT Staxio S-série
BT Staxio R-série
Elektrické paletové vozíky
BT Levio W-série
BT Levio P-série
BT Levio S-série
BT Levio R-série
Ruční paletové vozíky
BT Lifter L-série
BT Lifter H-série
PRAMAC
Elektrocentrály
Manipulační technika
Nízkozdvižné paletové vozíky
Nízkozdvižné ručně vedené vozíky
Vysokozdvižné ručně vedené vozíky
Vysokozdvižné ručně vedené vozíky s mechanickým zdvihem a pojezdem
Přídavná zařízení
CM
A.T.I.B
Přídavná zařízení
Nosné vidlice
Zvedací zařízení
MATE
Standardní
Atypická
Kolečka a rolny BS Rollen
DEMAC - navíjecí bubny
Příslušenství
Manipulační kleště s pevným krátkým ramenem - speciální provedení
Výpočet zbytkové nosnosti